Ko UIC apzīmē dzelzceļā?
Dzelzceļā UIC apzīmē Starptautisko dzelzceļu savienību (franču: Union internationale des chemins de fer), globālu profesionālo asociāciju. Tā dibināta 1922. gadā, tā veicina starptautisko dzelzceļa transportu, nosaka tehniskos standartus un veicina sadarbību ilgtspējīgas mobilitātes nodrošināšanai.
UIC galvenie aspekti:
Mērķis:Veicina dzelzceļa transportu, nosaka tehniskos standartus un veicina sadarbību.
Dalība:Ietver vairāk nekā 200 dalībnieku 5 kontinentos, tostarp dzelzceļa operatorus, infrastruktūras pārvaldītājus un pakalpojumu sniedzējus.
Standarti:Izstrādā "UIC standartus" un kodus, lai nodrošinātu dzelzceļa sistēmu tehnisko harmonizāciju un savietojamību (piem., signalizācija, ritošais sastāvs).
Klasifikācija:Tas nosaka globāli izmantoto lokomotīvju asu izvietojumu UIC klasifikāciju.
Fokusa jomas:Drošība, ilgtspējība, kravu pārvadājumu koridori un pasažieru pārvadājumi.
Kas ir UIC Rail?
UIC sliedes ir pieejamas dažādos profilos, piemēram, UIC 50, UIC 54 unUIC 60, ar cipariem, kas norāda svaru uz vienu metru kilogramos. UIC standarts nodrošina izturību, augstu kravnesību un efektīvu transportēšanu lielos attālumos.
UIC50 sliežu profils

- Galva:70 mm
- Augstums:152 mm
- Apakšējā platums:125 mm
- Tīkla biezums:15 mm
UIC54 sliežu profils

- Galvas platums:70 mm
- Augstums:159 mm
- Apakšējā platums:140 mm
- Tīkla biezums:16 mm
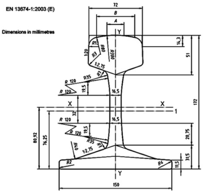
UIC60 sliežu profils

- Galvas platums:74,3 mm
- Augstums:172 mm
- Apakšējā platums:150 mm
- Tīkla biezums:16,5 mm
| Produkta nosaukums | UIC standarta tērauda sliede | ||||||
| UIC dzelzceļa standarti | UIC860-0, EN-13674-1 | ||||||
| Izmērs | IZMĒRI (mm) | Svars | Materiāli | Garums | |||
| Galva | Augstums | Apakšā | Tīmekļa biezums | (KG/M) | (m) | ||
| U.I.C.50 | 70 | 152 | 125 | 15 | 50.46 | 900A/1100 | 12-25 |
| U.I.C.54 | 70 | 159 | 140 | 16 | 54.43 | 900A/1100 | 12-25 |
| U.I.C.60 | 74.3 | 172 | 150 | 16.5 | 60.21 | 900A/1100 | 12-25 |
Kāda ir atšķirība starp UIC standartu un GB standartu?
Galvenā atšķirība starp UIC un GB dzelzceļa standartiem ir to reģionālajā fokusā un tehniskajās specifikācijās: UIC (Starptautiskā dzelzceļu savienība) (60E1) ir Eiropas standarts, kas koncentrējas uz ātrgaitas stabilitāti, savukārt GB (Ķīnas nacionālais standarts) ir pielāgots Ķīnas ātrgaitas un smagas{4}}satiksmes vajadzībām. Lai gan abi 60 kg/m standarti ir līdzīgi, tie atšķiras pēc sliežu augstuma, tērauda sastāva un termiskās apstrādes prioritātēm.
Galvenās atšķirības starp UIC 60 un GB 60kg/m sliedi
- Izmēri:GB 60kg/m sliedeir 176 mm augsts, savukārt UIC 60 (60E1) sliede ir 172 mm augsta. GB sliedes galvas platums ir 73 mm, salīdzinot ar UIC 60 74,3 mm.
- Materiāls un izturība:UIC standarti bieži dod priekšroku vidēja-oglekļa tēraudam (piemēram, R350HT), koncentrējoties uz metināmību, kam nepieciešama stiepes izturība, kas ir lielāka par vai vienāda ar 880 MPa. GB standartos bieži tiek izmantots augsts-mangāna tērauds (piemēram, U71Mn/U75V) ar augstāku stiepes izturību, kas ir lielāka par vai vienāda ar 980 MPa, kas ir pielāgota smagajiem{12}}smagajiem vilcieniem.

| Novērtējums | Standarts / reģions | Tipisks sastāvs (masas%) |
| R260 | EN 13674-1 (Eiropa) | C: 0,67–0,80, Mn: 0,90–1,20, Si: mazāks vai vienāds ar 0,50 |
| R350HT | EN 13674-1 (Eiropa) | C: 0,75–0,85, Mn: 0,80–1,20, Cr: 0,20–0,50 |
| 260. klase | AREMA (Ziemeļamerika) | C: ~0,77, Mn: ~1,0-1,2, Si: ~0,2 |
| 350. klase | AREMA + Mill specifikācijas (ASV/Kanāda) | C: 0,78–0,83, Mn: 0,90–1,20, Cr: 0,2–0,6, + V/Nb (mikrosakausējums) |
| BH dzelzceļš (Bainitic) | JIS E 1101 (Japāna), pieņemts ES/Indijā | C: 0,65–0,80, Mn: 1,0–1,4, Cr/Mo/Ni (pēc izvēles, dzirnavas -specifiski) |
| U71Mn | GB/T 2585 (Ķīna) | C: 0,65–0,77, Mn: 1,10–1,40, Si: 0,15–0,35 |
| U75V | GB/T 2585 (Ķīna) | C: 0,67–0,77, Mn: 0,70–1,00, V: 0,04–0,12 |
- Ražošanas fokuss:UIC uzsver standarta starptautiskos profilus un pielaides, savukārt GB standartos (piemēram, GB/T 2585) bieži ir iekļauti papildu noguruma un trieciena testi, lai tiktu galā ar sarežģītiem darbības apstākļiem.
- Mikroelementi:GB 60 kg/m bieži pievieno vanādiju (V), lai palielinātu cietību un nodilumizturību, savukārt UIC 60 var izmantot niobiju (Nb) struktūras uzlabošanai.
GNEE RAILpiedāvā pilnu UIC sliežu klāstu, tostarp UIC 54 sliedes un UIC 60 sliedes, kas atbilst starptautiskajiem standartiem un ir paredzētas lieljaudas dzelzceļam un rūpnieciskiem lietojumiem. Šīs augstas kvalitātes-sliedes ir pieejamas par konkurētspējīgām cenām un ātru piegādi.Sazinieties ar mumsšodien, lai iegūtu vairāk informācijas un saņemtu jūsu vajadzībām pielāgotu piedāvājumu!

